Analog Devices / Maxim Integrated MAX20754 Multiphase Power-Supply Controller
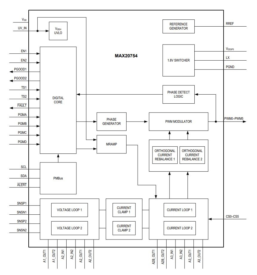
Analog Devices MAX20754 Configurable Multiphase Power-Supply Controller is optimized for use with Dual Powertrain™ integrated power stages and is designed for communication and networking applications. The MAX20754 generates six pulse-width-modulated outputs or “phases” with a configurable number per output channel. This configuration supports high current requirements and one or two output voltages.Analog Devices MAX20754 Multiphase Power-Supply Controller is highly versatile with an integrated switching regulator that supplies power for both the controller and the power-stage devices. The MAX20754 offers accurate load-current reporting, power-stage temperature monitoring, fault detection, and extensive PMBus-command support. Users can save PMBus parameters to nonvolatile memory via the MAX20754.
The controller is flexible, allowing use with traditional discrete inductors or with coupled-inductor topologies. Coupled inductors reduce the effective inductor value and size without increasing ripple current, reducing required output capacitance, and improving transient response.
The MAX20754 utilizes an advanced modulation scheme (AMS), providing excellent transient response and reduced required output capacitance compared to conventional pulse-width modulation (PWM) control. The AMS can be disabled if strict fixed-frequency PWM operation is needed.
Features
- Versatile and flexible controller
- Generates up to six PWM signals
- Single- or dual-voltage output with flexible phase assignment
- 0.5V to 2.0V Output-voltage range (MAX20754ETMA1+)
- 0.25V to 2.0V Output-voltage range (MAX20754ETMA2+)
- 4.5V to 16V Input-voltage range
- 300kHz to 800kHz Switching frequency range
- High-power density in a small overall solution size
- Supports coupled-inductor technology
- Advanced modulation scheme improves transient response
- High-loop bandwidth reduces output capacitance requirements
- 48-Pin (7mm x 7mm) TQFN Package
- Phase-current steering for thermal balancing
- Efficient integrated internal switching regulator powers controller and power stages
- Simple system configuration
- Four external resistors set output voltage, bus address, switching frequency, and current limit
- Comprehensive PMBus configuration, control, and telemetry
- Compatible with PMBus standard, revision 1.3
- 10kHz to 1MHz Bus speed
- PMBus command settings stored in nonvolatile memory
- Accurate current, voltage, and temperature reporting
Applications
- Communication, networking, servers, and storage equipment
- ASICs, DSPs, and FPGAs
- Microprocessor chipsets
- DDR Memory
Videos
Basic Application Circuit
Functional Diagram
