Microchip Technology dsPIC33EP GS Digital Signal Controllers
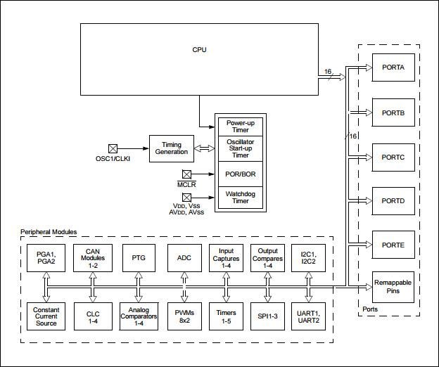
Microchip dsPIC33EP GS Digital Signal Controllers (DSCs) feature a 70-MIPS dsPIC® DSC core with integrated DSP and enhanced on-chip peripherals. These DSCs are designed to deliver the performance needed to implement more sophisticated non-linear, predictive, and adaptive control algorithms at higher switching frequencies. These advanced algorithms enable power supply designs that are more energy efficient and have better power supply specifications. Higher switching frequencies enable the development of physically smaller power supplies that offer higher densities and lower costs.The Microchip Technology dsPIC33EP GS DSCs include advanced features such as Live Update Flash capability, which is especially helpful for high-availability or "always-on" systems. Live Update can be used to change the firmware of an operating power supply, including the active compensator calculation code while maintaining continuous regulation.
The dsPIC33EP GS series features up to five 12-bit ADCs with as many as 22 ADC inputs. These devices also include 12-bit DACs for each of the four analog comparators, for higher-precision designs. Two on-chip programmable gain amplifiers can be used for current sensing and other precision measurements. Including these advanced analog amplifiers on the device reduces the number of external components required, thereby saving costs and board space.
Features
- 16-Bit dsPIC33E CPU Core
- Operating Conditions
- 3.0V to 3.6V, -40°C to +85°C, DC to 70 MIPS
- 3.0V to 3.6V, -40°C to +125°C, DC to 60 MIPS
- Clock Management
- ±0.9% Internal Oscillator
- Programmable PLLs and Oscillator Clock Sources
- Fail-Safe Clock Monitor (FSCM)
- Independent Watchdog Timer (WDT)
- Fast Wake-up and Start-up
- Power Management
- Low-Power Management modes (Sleep, Idle, Doze)
- Integrated Power-on Reset and Brown-out Reset
- 0.5mA/MHz Dynamic Current (typical)
- 20μA IPD Current (typical)
- High-Speed PWM
- Eight PWM Generators (two outputs per generator)
- Individual Time Base and Duty Cycle for each PWM
- Advanced Analog Features
- High-Speed ADC module
- 12-bit with 4 dedicated SAR ADC cores and one shared SAR ADC core
- Four Rail-to-Rail Comparators with Hysteresis
- Two Programmable Gain Amplifiers
- Interconnected SMPS Peripherals
- Five 16-bit and up to Two 32-bit Timers/Counters
- 2x UART modules
- 3x Variable Width SPI modules
- 2x I2C modules with SMBus Support
- Up to 2 CAN modules
- Up to 128Kb program memory
- Debugger Development Support
- AEC-Q100 REVG (Grade 1, -40°C to +125°C)
- Class B Safety Library, IEC 60730
- Multiple case options for design flexibility
- 28, 44, 48, 64, and 80 pin/lead
- SPOIC, QFN, QFN-S, UQFN, and TQFP packages
Block Diagram
