Microchip Technology PIC16LF1554/1559 8-Bit Microcontrollers

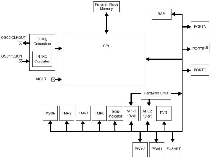
Microchip's PIC16LF1554/1559 8-Bit Microcontrollers are enhanced mid-range core microcontrollers that deliver unique on-chip features for the design of mTouch™ solutions and general-purpose applications in 14/20-pin count packages. These MCUs come with up to 17 analog channels connecting to two 10-bit ADCs with automated hardware CVD modules, two PWMs and multiple communication peripherals offer an excellent solution to implement capacitive sensing and other front-end sampling applications with minimal software overhead.

Features

  • Dual Analog to 10-bit Digital Converter (ADC)
  • 12 (PIC16LF1554) or 17 (PIC16LF1559) Channel 10-bit ADC
  • Advanced Controls for mTouch CVD (Capacitive Voltage Divider)
  • Voltage Reference
  • MI2C, SPI, UART
  • 2 PWMs (PIC16LF1554 only)
  • 25mA Source/Sink current I/O
  • 32MHz internal oscillator
  • Low Power Brown Out Reset (LPBOR)
  • Extended Watchdog Timer (WDT)
  • In-Circuit Debug
  • Operating Voltage 1.8V - 3.6V

Applications

  • mTouch solutions
  • General purpose HMI applications

Block Diagram

Microchip Technology PIC16LF1554/1559 8-Bit Microcontrollers
Published: 2014-10-02 | Updated: 2022-03-11