STMicroelectronics ST25R200 NFC/HF RFID Reader IC

STMicroelectronics ST25R200 NFC/HF RFID Reader IC delivers high-end performance in a small 4mm x 4mm 24-pin TQFN package. This reader IC offers high output power with Dynamic Power Output (DPO), allowing easy integration into applications with small antennas. The ST25R200 reader IC includes an RC oscillator and a programmable timer to automatically scan for cards or other NFC-enabled devices while in WU mode. Key features include integrated EMD handling and Active Wave Shaping (AWS) with overshoot or undershoot protection. This reader IC provides external communication interfaces, i.e., a Serial Peripheral Interface (SPI), with data transfer speeds of up to 10Mbit/s.

The ST25R200 reader IC is designed to operate within the 2.7V to 5.5V wide power supply range and a -40°C to 85°C broad ambient temperature range. Typical applications include beauty and lifestyle, brand protection, accessory recognition, automatic parameter setting, identification, healthcare, and access control.

Features

  • Improved low power card detection based on inductive wake-up
  • High output power with Dynamic Power Output (DPO)
  • Option to connect two independent single-ended antennas
  • Adjustable ASK modulation depth
  • Integrated EMD handling
  • Active Wave Shaping (AWS) with overshoot / undershoot protection
  • Automatic gain control and squelch feature to maximize signal-to-noise ratio
  • Integrated regulators to boost system PSRR
  • Measurement of antenna characteristics (I/Q channels)
  • 256-byte FIFO

Specifications

  • Serial Peripheral Interface (SPI) with data transfer speeds of up to 10Mbit/s
  • Up to 6VP antenna driver voltage range
  • 2.7V to 5.5V wide power supply range
  • -40°C to 85°C broad ambient temperature range
  • 4mm x 4mm 24-pin TQFN package

Applications

  • Healthcare
  • Access control
  • Beauty and lifestyle
  • Kitchen and home appliances
  • Gaming and education
  • Home automation and entertainment
  • Industrial and tools
  • IoT
  • Brand protection
  • Accessory recognition
  • Automatic parameter setting
  • Identification
  • Metering
  • Transportation and ticketing
  • User interaction and consumer engagement

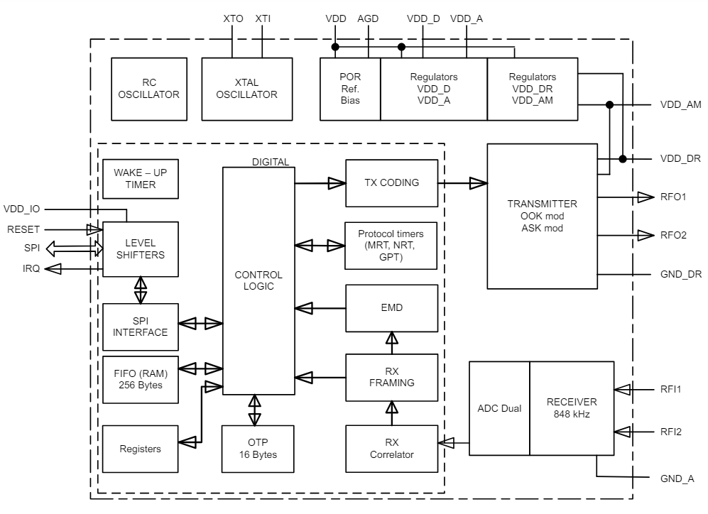
Block Diagram

Block Diagram - STMicroelectronics ST25R200 NFC/HF RFID Reader IC

Pin and Signal Description

STMicroelectronics ST25R200 NFC/HF RFID Reader IC
Published: 2024-06-26 | Updated: 2024-11-20