Semtech SX1230 Integrated Transmitter IC
Semtech SX1230 Integrated Transmitter IC is a fully integrated transmitter that operates in the 315MHz, 434MHz, 868MHz, and 915MHz license-free ISM bands. The SX1230 features bit rates up to 600kbits/sec with +17dBm to -18dBm programmable output power. The transmitter has two operation modes: a conventional MCU controlled mode and a "stand-alone" mode. These modes enable the SX1230 IC to download configuration and messages from an E2PROM in response to user input. The stand-alone mode makes the SX1230 ideal for miniaturized or low-cost remote keyless entry (RKE) applications. The Semtech SX1230 Integrated Transmitter IC also offers the unique advantage of narrow-band and wideband communication in a range of modulation formats.Features
- +17dBm to -18dBm programmable output power
- Bit rates up to 600kbits/sec
- FSK, GFSK, MSK, GMSK, and OOK modulation
- Stand-alone mode, no need for a host MCU
- Consistent RF performance over a 1.8V to 3.7V range
- On-chip RC timer for timer/wake-up applications
- Low phase noise (-95dBc/Hz at 50kHz) with automated PLL calibration and fully integrated VCO/loop filter
- Low battery detection
- -40°C to +85°C temperature range
- 4mm2, MLPQ-24 package
Applications
- Remote keyless entry (RKE)
- Remote control/security systems
- Voice and data RF communication links
- Process and building/home control
- Active RFID
- AMR/AMI platforms
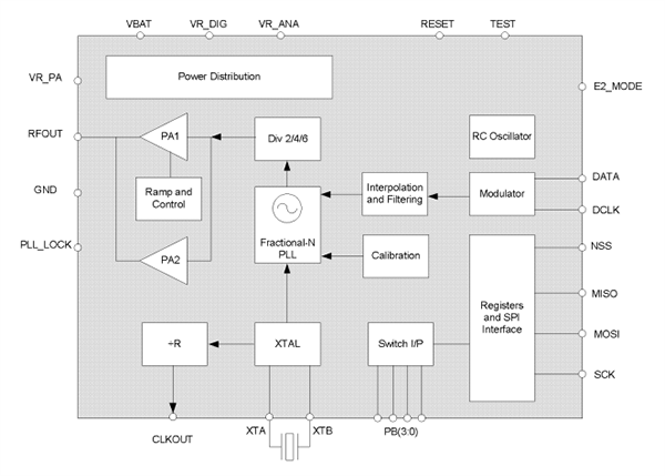
Block Diagram
Published: 2016-07-20
| Updated: 2022-03-11
