STMicroelectronics VNHD7012 38A H-Bridge DC Motor Driver

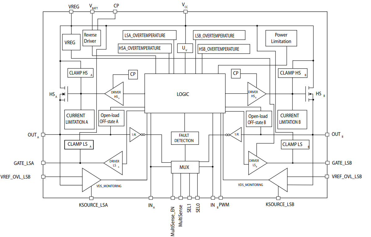
STMicroelectronics VNHD7012 38A H-Bridge DC Motor Driver is used for automotive applications. The driver integrates a fully-protected dual high-side driver in addition to the drivers and protections for the two external power MOSFETs in low-side configuration. The device is housed in a PowerSSO-36 exposed pad package to optimize the dissipation performances. The input signals INA and INB can directly interface the microcontroller to select the motor direction and the brake conditions. STMicroelectronics VNHD7012 38A H-Bridge DC Motor Driver also comes with MultiSense monitoring and diagnostic functions.

Features

  • 38A output current
  • Two integrated drivers for the external LSDs
  • 3V CMOS compatible inputs
  • Protections:
    • Undervoltage shutdown
    • Overvoltage clamp
    • Thermal shutdown
    • Load current limitation
    • Self-limiting of fast thermal transients (Power Limitation)
    • Cross current protection
    • Shoot through protection
    • Loss of ground and loss of VCC
    • Electrostatic discharge protection
    • Drain and source voltage monitoring of the external power MOSFETs, configurable via an external resistance (short-to-battery protection)
  • PWM operation up to 20kHz for external LSDs
  • Dual fully protected HSD with MultiSense feedback
  • MultiSense monitoring functions
    • Analog motor current feedback
    • Chip temperature monitoring
    • Battery voltage monitoring
  • MultiSense diagnostic functions
    • Output short to ground detection
    • Thermal shutdown indication
    • OFF-state open-load detection
    • Output short to VCC detection
  • Standby mode
  • Half-bridge operation
  • Charge pump output for reverse battery protection
  • ECOPACK® package
  • AEC-Q100 qualified

Block Diagram

STMicroelectronics VNHD7012 38A H-Bridge DC Motor Driver
Published: 2018-12-10 | Updated: 2023-02-23