Texas Instruments ADC34J2x 12-Bit Analog-to-Digital Converters

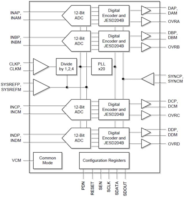
Texas Instruments ADC34J2x 12-Bit Analog-to-Digital Converters are a high-linearity, ultra-low power, dual-channel, 12-bit, 50-MSPS to 160-MSPS, analog-to-digital converters (ADCs). These devices are designed specifically to support demanding, high input frequency signals with large dynamic range requirements. They support JESD204B interfaces in order to reduce the number of interface lines. This allows for high system integration density. The JESD204B interface is a serial interface, where the data of each ADC is serialized and output over only one differential pair. An internal phase-locked loop (PLL) multiplies the incoming ADC sampling clock by 20 to derive the bit clock that is used to serialize the 12-bit data from each channel.

Features

  • Quad channel
  • 12-Bit Resolution
  • Single 1.8V supply
  • Flexible input clock buffer with divide-by-1, -2, -4
  • SNR = 69.6dBFS, SFDR = 86dBc at fIN = 70MHz
  • Ultra-low power consumption of 203mW/Ch at 160MSPS
  • 105dB Channel isolation
  • Internal dither
  • JESD204B Serial interface:
    • Subclass 0, 1, 2 compliant up to 3.2Gbps
    • Supports one lane per ADC up to 160MSPS
    • Support for multi-chip synchronization
  • Pin-to-pin compatible with 14-Bit version
  • VQFN-48 (7mm × 7mm) Package

Applications

  • Multi-carrier, multi-mode cellular base stations
  • Radar and smart antenna arrays
  • Munitions guidance
  • Motor control feedback
  • Network and vector analyzers
  • Communications test equipment
  • Nondestructive testing
  • Microwave receivers
  • Software Defined Radios (SDRs)
  • Quadrature and diversity radio receivers

Functional Block Diagram

Block Diagram - Texas Instruments ADC34J2x 12-Bit Analog-to-Digital Converters
Published: 2015-04-20 | Updated: 2025-06-25