Texas Instruments DACx0504 Voltage-Output DACs

Texas Instruments DACx0504 Voltage-Output Digital-to-Analog Converters (DACs) are low-power, four-channel, buffered voltage-output DACs with 16 or 14-bit resolution. The DACx0504 includes a low drift, 2.5- internal reference, eliminating the need for an external precision reference in most applications. A user-selectable gain configuration provides full-scale output voltages of 1.25V (gain = 1/2), 2.5V (gain = 1), or 5V (gain = 2). These devices operate from a single 2.7V to 5.5V supply, are specified monotonic, and provide high linearity of ±1LSB INL.

Communication to the DACx0504 is performed through a 4-wire serial interface that operates at clock rates of up to 50MHz. The VIO pin enables serial interface operation from 1.7V to 5.5V. The DACx0504 flexible interface enables operation with a wide range of industry-standard microprocessors and microcontrollers.

The DACx0504 incorporates a power-on-reset circuit that powers up and maintains the DAC outputs at either zero scale or midscale until a valid code is written to the devices. These devices consume a low current of 0.7mA/channel at 5.5V, making them suitable for battery-operated equipment. A per-channel power-down feature reduces the current consumption to 15µA.

Features

  • Performance
    • INL: ±1LSB Maximum at 16-bit resolution
    • TUE: ±0.1% of FSR Maximum
  • Integrated 2.5 V precision internal reference
    • Initial accuracy of ±5mV, maximum
    • Low drift of 2ppm/°C typical, DAC80504
  • High drive capability of 20mA with 0.5V from supply rails
  • Flexible output configuration
    • 2, 1 or 1/2 User selectable gain
    • Reset to zero-scale or midscale
  • Wide operating range
    • 2.7V to 5.5V Power supply
    • –40°C to +125°C Temperature
  • 50MHz, SPI-Compatible serial interface
    • 4-Wire Mode, 1.7V to 5.5V operation
    • Daisy-chain operation
    • CRC Error check
  • Low power of 0.7mA/channel at 5.5V
  • 3mm×3mm, 16-Pin WQFN Small package

Applications

  • Optical networking
  • Wireless infrastructure
  • Industrial automation
  • Data acquisition systems

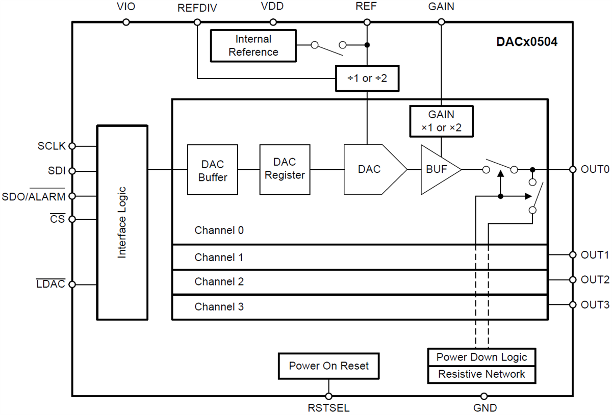
Functional Block Diagram

Block Diagram - Texas Instruments DACx0504 Voltage-Output DACs
Published: 2018-10-17 | Updated: 2023-07-11