Texas Instruments DS90UH949A-Q1 HDMI-to-FPD-Link Bridge Serializer

Texas Instruments DS90UH949A-Q1 HDMI-to-FPD-Link III Bridge Serializer can be paired with the FPD-Link III DS90UH940A-Q1/DS90UH948A-Q1 deserializers to supply 1-lane or 2-lane high-speed serial streams. These streams can be done over cost-effective 50Ω single-ended coaxial, or 100Ω differential shielded twisted-pair (STP) and shielded twisted quad (STQ) cables. The device can serialize an HDMI v1.4b input to support video resolutions up to 2K with 24-bit color depth.

The FPD-Link III interface supports video and audio data transmission and full duplex control, including I2C and SPI communication, over the same differential link. Consolidation of video data and control over two differential pairs can decrease the interconnect size and weight and simplifies system design. EMI is minimized by the use of low voltage differential signaling, data scrambling, and randomization. In the backward-compatible mode, the device supports up to 1080p for 94x deserializers and 720p for 92x deserializers with 24-bit color depth over a single differential link.

Features

  • AEC-Q100 Qualified for automotive applications
    • Device temperature grade 2: –40°C to 105°C ambient operating temperature range
    • Device HBM ESD classification level 2
    • Device CDM ESD classification level C5
  • Supports TMDS clock up to 210MHz for 2K (2880 x 1080) resolutions with 24-bit color depth
  • Single and dual FPD-Link III outputs, supports STP or STQ cables
  • High-definition multimedia (HDMI) v1.4b compatible inputs
  • HDMI-Mode DisplayPort (DP++) inputs
  • Integrated HDCP v1.4 cipher engine with on-chip key storage
  • HDMI Audio extraction for up to 8 channels
  • High-speed back channel supporting GPIO up to 2Mbps
  • Tracks spread spectrum input clock to reduce EMI
  • I2C (Master/Slave) with 1Mbps fast-mode plus
  • SPI Pass-through interface
  • Backward compatible with DS90UH926Q-Q1 and DS90UH928Q-Q1 FPD-Link III deserializers

Applications

  • Automotive infotainment
  • IVI Head units and HMI modules
  • Rear seat entertainment systems
  • Digital instrument clusters
  • Security and surveillance camera
  • Consumer input HDMI port

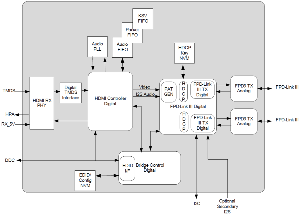
Functional Block Diagram

Block Diagram - Texas Instruments DS90UH949A-Q1 HDMI-to-FPD-Link Bridge Serializer

Videos

Published: 2018-09-26 | Updated: 2025-03-10